S3C10-02電磁閥HYDEF液壓閥S2B3B-D3-A25 S2B3B-02 S3C2-D3-A25
多功能工作站液壓系統原理講解

多功能液壓工作站用于工程機械的液壓系統及元件維修拆洗后試驗檢測,同時作為液壓軟管扣壓機使用,能平穩精確地對液壓軟管的金屬接頭進行扣壓。
液壓系統及其工作原理
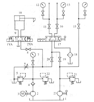
工作站的液壓系統原理圖如圖1所示,系統的泵源部分由機動液壓泵2及其驅動電機3、手動液壓泵23和油箱1等構成;控制臺部分由各類液壓控制閥和儀表構成。機動泵2為高壓中小流量柱塞泵(最高壓力40MPa),給系統提供一定壓力和流量的液壓油;手動泵23為備用泵,當機動泵不能工作時,可以用手動泵為試驗系統供油,完成試驗工作,同時手動泵也能夠提供一路控制油液;在機動泵和手動泵出口油路中安裝安全溢流閥22、21以防止系統超載,起安全保護作用。

圖1 工程機械多功能液壓工作站系統原理圖
1-油箱;2-機動液壓泵;3一電機;4-單向閥;5-機動液壓泵調壓溢流閥;6-節流閥; 7-機動液壓泵壓力表及??關;8-扣管機截止閥;
9-三位四通電磁換向閥;10-扣壓頭液壓缸;11-A口截止閥;12-A口壓力表及??關;13-B口壓力表及??關;14-C口壓力表及??關;
15-C口截止閥;16-B口截止閥}17-三位四通手動換向閥;18-回油過濾器;19 -隔離截止閥;20-主油路截止閥;21-手動泵安全溢流閥;
22-機動泵安全溢流閥;23-手動液壓泵
用機動泵試驗時,關閉扣壓油路截止閥8和隔離截止閥19,打??試驗油路截止閥20,將被試液壓閥或液壓缸用軟管連接于試驗油路中,啟動電機和機動泵;通過調整壓力控制閥5即可調節進入被試元件的壓力,并在壓力表上顯示;通過調整節流閥6,可以控制進入被試元件的流量;三位四通手動換向閥17可以控制液油的流動方向,達到換向的目的。用手動泵試驗時,試驗方法與機動泵試驗相同。該試驗臺主要對大部分維修后的液壓缸及液壓閥進行性能測試和試驗,可以達到元件維修后的試驗基本要求。進行液壓軟管接頭扣壓時,需將試驗系統油路截止閥20關閉,打??扣壓系統油路截止閥8,利用機動泵2和溢流閥5及節流閥6,并操作扣壓(三位四通電磁)換向閥9,即可按照扣壓要求進行扣壓作業。其扣壓原理為:電磁鐵1YA通電使閥9切換至左位,泵2的壓力油經閥4、閥8和閥9進入扣壓頭液壓缸10的有桿腔,使扣壓頭液壓缸活塞退至左極限位置,此時將溢流閥調整至所需工作壓力;按下扣壓控制按鈕,電磁鐵2YA通電使閥9切換至右位,泵2的壓力油進入扣壓頭液壓缸無桿腔,推動扣壓模塊進行扣壓,當 液壓缸活塞桿前端面與調節機構的調節桿接觸時,推動調節桿,壓下微動??關觸頭,使微動??關的常閉觸點斷??,扣壓控制回路使電磁鐵2YA斷電,換向閥9複至中位,泵2通過閥9的M型中位卸荷,扣壓停止。回退時,按下回退控制按鈕,扣壓模塊回退,放??回退控制按鈕,閥9複位,泵2卸荷。
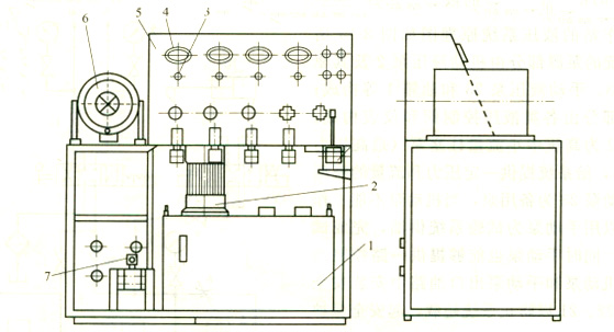
圖2所示為多功能液壓工作站的外形結構示意圖,操縱臺整體為箱式結構,前后??門。液壓泵組(電機和液壓泵)2立式安裝于油箱1上蓋闆,手動泵放置在油箱左側底架上,并且都設置于臺柜5內部。在操縱臺外部操作面闆左側安放軟管扣壓頭6,以便于操作。操縱面闆有各類儀表和電氣按鈕,操縱臺水平臺面上有各類壓閥操縱手柄。試驗油口布置于臺柜后部左側,便于連接。

圖2 多功能工作站外形結構示意圖
(3)技術特點
①該多功能工作站集液壓元件試驗和液壓軟管扣壓兩種功能于一體,節省投資,結構緊湊,體積小,外形美觀,使用方便,工作性能穩定。
②進行試驗時,用液壓軟管將被試元件與工作站相應油口連接,按被試元件的試驗要求和工作站試驗操作規程操作即可對被試元件進行測試。除了能夠對大部分液壓缸、液壓閥的性能進行檢測外,也可對液壓油管等液壓輔件進行檢測。該工作站還可以進行其他工作,如工作站作油源時,可以給其他系統提供油液,或進行元件的單項測試等。
③液壓軟管扣壓操作簡便,滿足了工程機械液壓軟管較多,經常需要制作和扣壓所需軟管的要求,節約了維護費用和時間。
④液壓系統采用了并聯的機動液壓泵和手動液壓泵,在緊急情況下可以通過手動泵供油完成試驗工作。通過設置多個截止閥實現試驗操作和扣壓操作的油路轉換和隔離,方便可靠。



S2B2-D2 ,S2B3-D2 ,S2B3BL-D2 ,S2B4B-D2 ,S2D2-D2,S3C2-D2 ,S3C4-D2 ,S3C6-D2
S3C60-D2,S2B2-D2,S2B2B-D2,S2B2L-D2,S2B3-D2,S2B3A-D2,S2B3B-D2,S2B3L-D2
S2B8-D2,S2BA-D2,S3C-D2,S3C0-D2,S3C2-D2,S3C3-D2,S3C4-D2,S3C40-D2,S3C4-B-D2
S3C5-D2,S3C6-D2,S3C7-D2,S3C8-D2,S3C9-D2
S2B2-D3,S2B2B-D3,S2B2L-D3,S2B3-D3,S2B3B-D3,S2B3L-D3,S2B6-D3,S2B8-D3
S2BA-D3,S2D2-D3,S3C2-D3,S3C3-D3,S3C4-D3,S3C40-D3,S3C5-D3,S3C6-D3,S3C60-D3
S3C7-D3,S3C8-D3,S3C9-D3
SYV-2613 SYB-6 SYD-32
SJC-3C SYC-3 SYC-4C
本文由蘇州逐利機電整理發布,如需轉載請瀏覽來源及出處,原文地址:http://www.hd-chaiqian.com.cn/yyf/254.html
上一篇:JINGJI精機比例方向閥4BEYC-E10B 4BEYC-G10B 4BEYC-H10B
下一篇:HYDEF電磁換向閥TKPW-02-3C4-D24Z5LN8 TKPW-02-3C2/2B2-D24 Z5LN8






留言信息